11月8日,广州市公共资源交易*一口气挂出了3宗商地,合计总价约44.2亿元,涵盖琶洲、白云新城和知识城三大热门板块。

其中,知识城地块还有望引入五**酒店!具体情况一起来看看吧~
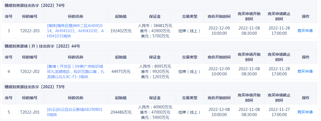
*先,是海珠区琶洲中二区AH041014、AH041021、AH041030、AH041035地块,用地属性为商务用地B2兼容商业用地B1,宗地面积为58505.61㎡,挂牌起始价19.2402亿元,增加幅度1000万元,价高者得。
竞价时间为2022年12月9日10时。
土地使用权出让年限,商业用地40年,综合或其他用地50年。
竞得人须在本次出让地块成交后30日内与琶洲经济联合社签订《琶洲经济联合社留用地项目合作开发协议》;需按规划建设配套公共服务设施社区卫生服务*(计算容积率建筑面积5000㎡,以不动产登记的建筑面积为准)。
宗地的基本情况和规划指标要求如下:

细分到各分地块,AH041014地块的地上容积率≤5.08,绿地率≥20%,限高130米,计容建面≤32981㎡,建筑密度≤45%;
AH041021地块的地上容积率≤5.34,绿地率≥25%,限高150米,计容建面≤54405㎡,建筑密度≤45%;
AH041030地块的地上容积率≤2,绿地率≥20%,限高35米,计容建面≤6552㎡,建筑密度≤45%;
AH041035地块的地上容积率≤1.66,绿地率≥30%,限高60米,计容建面≤10062㎡,建筑密度≤35%。

目前,琶洲板块在售新盘不多,尤其是上月设立经开区并严禁商业房地产开发后,宅地和新盘都将更为*。
其中,保利湖光悦色在售127-200㎡户型,均价约8万元/㎡;琶洲南TOD项目将推275-325㎡大平层,价格待定;保利海珠天珺将推141-262㎡户型,均价约10万元/㎡。(价格仅供参考)
白云区白云新城AB2908010地块,用地属性为商业用地兼容商务用地(B1/B2),宗地面积为73726㎡,挂牌起始价20.4486亿元,增加幅度1000万元,价高者得。
竞价时间为2022年12月8日10时。
土地使用权出让年限,综合或者其他用地50年,商业、旅游、娱乐用地40年。
竞得人自持物业为项目计算容积率总建筑面积的100%,自持物业的自持年限自*次登记之日起不少于10年,自持物业不得分割处分,抵押、转让须与本项目全部自持物业整体一并办理。
宗地的基本情况和规划指标要求如下:

值得注意的是,分地块AB2908042为公共交通场站用地S41兼容绿地与广场用地G,限高25米。

目前,白云新城新盘多为豪宅产品。
天健云山府主推75-140㎡的三四居室,均价约6.6万元/㎡;中铁建天皓西派云峰主推142-196㎡的四居室,均价约9万元/㎡;广州富力·富云山主推120-180㎡的三四居室,均价约8万元/㎡;粤海·云港城主推140-264㎡的四居室,均价约100000元/㎡;云山壹品主推136-164㎡三四居室,带装修价约6.5-8.8万元/㎡。(以上价格仅供参考)
*后是有望成为黄埔*级项目的,中新广州知识城环九龙湖地区、知识五路以南、九龙湖以北JLXC-F1-3地块,用地属性为商业设施用地兼容商务设施用地(B1/B2),宗地面积为14334㎡,挂牌起始价4.4975亿元,增加幅度300万元,价高者得。

地块东西塔分贝限高150米和220米,妥妥的*级建筑。
竞价时间为2022年12月9日10时。
申请人应具备的其他条件:
1、竞得人须承诺,在广州市黄埔区办理工商注册和税务登记,在项目规模运营后的20年内不得迁出;
2、竞得人须承诺,严格按照《关于核发知识城JLXC-F1-3地块规划条件的函》(穗规划资源业务函〔2022〕14063号)开发建设该地块,不设装配式建筑比例的要求。项目用地须用于建设集办公、*酒店和配套商业等为一体的综合性设施,建设重大科研平台和高新企业孵化空间和*酒店;
3、地块总计算容积率建筑面积≤100338㎡,其中商业设施(B1)计容建筑面积≤43772㎡,约占总计容建筑面积的44%;商务设施(B2)计容建筑面积≤56566㎡,约占总计容建筑面积的56%。
4、竞得人须承诺,项目建成后,竞得人自持商业(B1)比例为84%,计容建筑面积不少于36872㎡,自持年限40年;自持商务(B2)比例为50%,计容建筑面积不少于28283㎡,自持年限20年,其余面积用于出售;
5、竞得人须承诺,在该地块建设计容建筑面积不少于36872㎡的*酒店及配套;
6、竞得人或其母集团须承诺,在签订《国有建设用地使用权出让合同》后1个月内,引进具有亚太特色的国际品牌*酒店,并与酒店方签订合作框架协议,否则出让人有权没收出让保证金,无偿收回用地;
7、竞得人须承诺,地块兴建的民用建筑(含工业用地范围内用于办公、居住等民用建筑功能的建筑),应当按照绿色建筑基本级或以上等级进行建设,其中政府投资公益性建筑和大型建筑应当按照绿色建筑二*及以上等级进行建设;建筑面积大于10万㎡的居住小区按绿色建筑一*及以上等级进行建设;
8、竞得人须承诺,在建设施工过程中,如果发现文物遗存,应当立即停止施工,保护好现场,并及时报请文物部门处理。

据悉,该地块是早前澳门青创国际集团与区属国企开发区投资集团合作共建的澳门塔项目,后改名为“智荟塔”,正式名称为“中新科技文化艺术*”。
项目建成后有望引入悦榕庄酒店品牌,一家1994年于泰国成立的全球独立运营品牌。

智荟塔效果图
目前,知识城新盘不少,数月前开盘的知识城悦辰壹号主推89-168㎡三*五房,均价2.38万/㎡起;龙狮·璟珑府主推建面约91-168㎡三*四房,吹风价3万/㎡左右;越秀联投知识城·居山涧吹风价6万/㎡;嘉达·山与墅主推建面约163-187㎡院落,吹风价在5-6万/㎡。(以上价格仅供参考)
三宗商地都位处广州商业发展的“风口位”,相较而言,你更期待哪宗呢?快来评论区告诉我们吧!




