前天,广州市规划和自然资源局挂出了第五批拟供地清单。
此次拟挂地名单,显示共有13宗涉宅地将出让。
其中,海珠、荔湾、从化各有2宗,番禺1宗,花都6宗。

公告中显示,第五批拟于2023年11月 29日至2024年2月28日期间发布出让公告。
2宗宅地已挂牌,11宗待上架
第五批次挂牌的这13宗地块,都曾出现在第四批拟供应名单里面。
对比了下,第四批清单总共披露有17宗涉宅地。除去白云大朗客整所地块,以及已挂牌的天河世界大观二期、黄村地块、岐山路地块外,其他13宗宅地都在第五批名单里面。
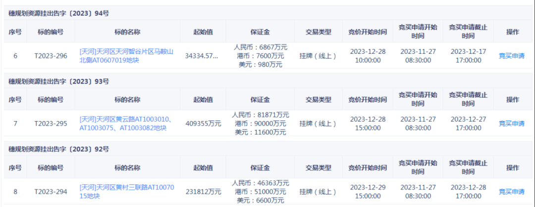
近日广州公共资源交易中心挂牌天河区的3宗用地,将于12月28日、29日开拍,或将是年内广州最后一批供应的涉宅地。

还有地块已经对外挂牌,包括海珠新滘西路、荔湾东沙国际商贸港;其实第5批拟供地清中未上架的地块,只有11宗。

这批次的地块中有一些是备受关注的宅地,比如长隆BA地块、白鹅潭陆居路地块,和海珠三滘立交地块。汉溪大道北侧BA0901081地块,是长隆三期AB地块的一部分。占地面积5.7公顷,总建面约15.17万平,地块位置在长隆万博悦府西侧,地段不错。根据照规划,未来该区域将有欢乐大道直通长隆地铁站,也能享受万象系商业、K11等配套等。
该地块也是自今年长隆拍出摇号地价后,呼声就一比较高,颇受市场关注。还有荔湾白鹅潭陆居路AF020208、244地块,也是潜在的大热宅地。
其中,北侧244地块为宅地,占地1.4万平,南侧208地块为商用地,占地0.7万平;与白鹅潭万象城仅一路之隔,配套优势非常明显。
据悉,前段时间的白鹅潭房价冲上13万/平,刷新荔湾天花板;加上今年以来白鹅潭的热度都比较高,因此,陆居路地块很可能会被房企集中围猎。

至于海珠客运站以东的海珠区AH101314地块,即是三滘立交地块。地块位于广州环城高速北侧,东侧是广州大道南,距离南洲地铁站仅有700多米。
地块总用地为6.71公顷,总建面为15.17 万平米,体量不算小。
地块周边最近的项目是中国铁建西派粤府,去年中铁建拿地价是4.3万/平。从土地素质来看,显然三滘立交地块因缺少江景和被高速环绕,地价可能会便宜一些。

对于广州市场来说,这些靓地即将挂牌,意味着接下来楼市还会有更多新鲜血液注入。但从周期上来看,这些土地可能需要等到明年,才能出让了。毕竟,此前官方曾公告,包括长隆地块三期和花都的5宗宅地,都还尚未完成收储。
12月15宗宅地出让 天河火力全开
根据小编统计,截止到目前,广州全市已经有15块地锁定了档期。

当然,12月拍地最有看头的是,莫过于两个区天河、海珠。在此次的土拍清单中,天河一口气就拿出了3宗靓地,包括天河世界大观二期、黄村地块、岐山路地块。其中,天河世界大观自从越秀拿下一期地块后,板块的热度就一路高涨。
地块附近清一色都是豪宅项目,在售项目如缦云广州、合景臻颐府等,推出的也是大平层产品。
而这次挂拍的二期地块,就在越秀世界大观项目西侧,地块起拍总价约40.9亿,折合楼面价为41772元/平。
地块占地12.5万平,但建面只有9.8万平,从容积率看,基本上又是豪宅定位。
值得注意的是,今年一期地块出让的时候,就吸引了越秀、华润置地、中海、保利等房企巨头报价。
因此,世界大观二期,很可能也会吸引不少开发商争抢。

今年7月,华润置地以45亿总价拿下了吉山仓两宗宅地,即现在的华润天河润府项目。自从华润置地这一龙头房企进入,该板块内的价值就已经开始被挖掘。
而12月即将出让的这宗地块,总价364500万元,折合楼面价约21329元/平。
至于配套,地块附近有执信中学天河校区、奥体东小学等,周边还有奥体中心等设施。
从地块附近的项目类型以及周边规划来分看,这里大概率会建豪宅。
此外,还有黄村三联路AT1007015地块,同样是上年年初广物控股集团资产包中的5宗地块之一。其位于广园快速路、奥体南路以北,临近奥体优托邦,附近以产业园、创意园以及大学为主,和地铁黄村站有约800米的直线距离,整个地块占地面积不算太大。

总体来看,对广州楼市而言,12月这些热门地块的上架,不仅给楼市增加优质的新鲜血液,另一方面,也能延续今年的土拍热度。而且这次集中供地的看点不少,尤其是天河、海珠的地块素质都不错,所以我们预计随着地块的挂牌出让,下一轮拍地不排除再次出现封顶摇号的现象。
那么,对此你怎么看?欢迎评论区聊聊~~

