
进入下半年,广州旧改推进工作已不再停留在计划层面,而是开始启动执行,特别是黄埔区、白云区、天河区旧改都重新进入了“快车道”。
比如:黄埔文冲东、下沙村、沙湾村,白云黄边村、五龙岗村、棠涌村纷纷进入动工建设阶段。
以及,天河棠下村、车陂村、前进村,黄埔宏岗村、凤尾村等开展了片区策划相关工作。
旧村改造推进速度,是肉眼可见的快。不过,仔细对比会发现,这些项目基本上集中在*建设项目上,其余旧村很少有惊喜出现。
与黄埔、白云两个区相比,番禺区显得“低调”一些,但推进旧村改造却在偷偷发力。
当下广州旧改市场环境下,番禺区与天河区、白云区等推进旧村改造相差无几,都是集中推进*建设项目。
今年3月,番禺区公布了2022年城市更新*建设项目中,共有12个项目,其中旧村改造旧村及村级工业园改造是“重中之重”,数量达到10个,占比超过83%。

但是,我们知道3月公布的推进计划,忽视了一些名单之外的旧村改造项目现状。因为去年不少旧村改造工作已经进入了深水区,特别是黄埔区、增城区一些旧村改造项目被暂停后,出现了拖欠临迁费、村民“原地回迁”等社会性问题。
所以,广州市需要重新结合各区旧村改造现状,重新调整推进计划,也就是后续公布的广州市新版2022年旧改计划;同时,也做好其余旧村改造项目的妥善处理,比如“安置先行”、国企进场等举措。
回到番禺区旧改身上,新版旧改计划中,该区共有25个项目纳入名单中,包括9个旧村改造项目,16个旧厂房改造项目。对比区级计划,旧村改造项目中,新基村被“剔除”了,其余9 条旧村继续推进。

透过旧村改造地块计划入库、官方公示信息来看,罗边村、南浦村、蔡边一村3个*项目有推进动态,率先突围。
其中,罗边村在今年2月份完成了旧村更新项目涉及集体土地完善转用手续,用地规模约5.4公顷。这也是2022年上半年中,番禺区*批“三旧”改造用地完成审批手续。

余荫山房
到了8月8日,番禺区才迎来今年第二批“三旧”改造地块计划入库审查工作。根据公示信息,本次计划入库旧改地块涉及蔡边一村,用地面积约10.88万㎡。

如今,时隔十余天,番禺区旧村改造又有新动态,也迎来第3个旧村改造项目进入动工建设阶段。
8月24日,广州市规划和自然资源局番禺区分局发布信息称,7月以来,完成石碁镇南浦村城市更新改造村委会地块、复建安置地块及配套学校地块供地方案审核工作并发出划拨决定书和建设用地规划许可证。
主要完成工作包括:一是、通过认真核查改造项目详查资料、改造实施批复方案及地块具体情况,将旧改项目风险隐患研究透,并进行规避。
二是、把城市更新政策研究透,寻求市规划等部门的指导;以及,协调相关主管部门和属地街道核实、确认相关情况,会同城市更新部门共同研究,不断完善内部审查规则。
有没有发现,番禺区旧村改造地块计划入库*批、第二批的时间时隔了长达6个月,这也直接说明了区内旧改推进速度之慢。
不过,从整个广州市来看,今年上半年旧村改造推进速度变慢,不只有番禺区。
2022年上半年,广州市完成26宗“三旧”改造项目地块审批工作,合计用地规模为211.475公顷。其中,旧村改造地块共有15宗,用地面积为188.8公顷,占比89.28%。

单看数据,虽然可以说明旧村改造计划入库仍是广州市“三旧”改造的*工作,但是若与2021年上半年相比,这份数据缩水的不只是一点点。
2021年上半年,广州市“三旧”改造地块计划入库规模达到822.92公顷。

计划入库项目包括许多*地段的优质项目,比如越秀区南洋电器厂旧改项目、白云区的江夏村、荔湾区的坦尾村,也有增城区、从化区、花都区等外郊区的旧村项目,比如城丰村曹村社、田美村、三东村等。
其中,仅黄埔区旧村改造计划入库用地面积达到490.66公顷,占比总额的接近60%。

这份数据,犹如一份珍贵的史料,记录了广州旧村改造全面爆发状态。不过,这些终究成为了往事。
新的趋势下,广州城市发展也迈了新的步调。如果林立于高楼大厦的“城中村”无法一一进行全面拆迁、改造,那么,推进“城中村”综合治理则成为了不少行政区共同目标。
其中,白云区当属广州市11个区*为积极的一个,其开始探索“白云模式”,积极鼓励区属国企联合街道推进“城中村”的发展。前几天,我们关注的三元里村或许将成为一个典型案例。回顾:4条旧村齐动!白云旧改进入快车道,这条村出现反转?

实际上,番禺区也在积极推进“城中村”治理工作。
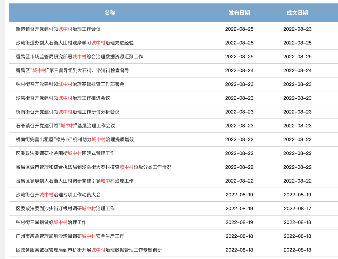
就在*近几天,番禺区多个镇街发布了有关开展“城中村”治理工作,参与对象包括钟村街、沙湾街、石碁镇、桥南街、大石街等。

拿典型案例大石街为例,其推进“城中村”治理工作主要三项举措,即做实网格治理工作、加快补齐城中村基础设施短板、推进整治工作。
如果没有等到全面改造,整治工作也是弥补“缺乏”的好方式。
