鹏瑞1号套均1.17亿
广州10万+豪宅盘网签曝光
广州鹏瑞1号自拿地到真正面市,十分低调,官方鲜少发声,但实力难掩。
据中指院数据,广州鹏瑞1号10月网签了5套,其中2套447平,3套561平。
这5套房源网签均价226201元/平,套均约1.17亿,*果然是*。
不过需要注意的是,网签数据有滞后性,项目真正的成交量价可能不止这个数,以实际为准。
这个单价和总价在金融城乃至广州是什么水平?
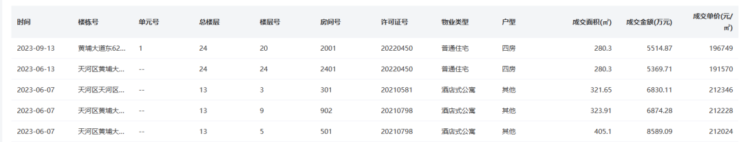
也查了同板块金融城此前的天花板合景臻溋名铸近3年的网签。
数据显示,近3年合景臻溋名铸住宅+酒店式公园共网签了46套。(以实际量价为准)
280平住宅,405平、531平酒店式公寓价格基本都在20万/平左右,最高21.2万/平,531平总价最高1.11亿。
也就是说,鹏瑞1号首战成交单价、总价都超过了合景臻溋名铸。
放在全广州来看,是属于珠江新城东*如侨鑫汇悦台、颐德公馆同等梯队的。

广州鹏瑞1号定位全面超越深圳湾1号,主推约300-2000平户型
这样的天花板产品,势必有着天花板的房价。
广州鹏瑞1号30万/㎡的单价,只是下限。上限是多少?没有人知道。
但有一点可以肯定,随着北帝沙岛的官宣开发,很快,广州鹏瑞1号30万/㎡的单价就将成为过去式。
我们不禁反问:广州鹏瑞1号,30万/㎡还能买到吗?
未来,随着顶级配套的不断兑现、呈现,它的房价又将达到一个怎样遥不可及的高度!

广州鹏瑞1号配套顶级,未来房价上限会更加惊人!
果断预测:三年后,它的价格必然会超越广州所有顶级豪宅,成为广州豪宅的天花板。
广州鹏瑞1号属于有钱也不一定买得到的顶级藏品,目前推出了建面约450-550㎡的云境新品,值得期待。

