2022年倒计时60天,开发商急了?
从目前楼盘的推货节奏来看,确实有点年底冲刺那味儿了!
譬如:
刚在10月10日第三次集中供地中出让的华润置地白鹅潭住宅项目,将于11月中旬在白天鹅宾馆开展厅;
7月拿地的越秀和樾府,现在已经可以诚意登记了,预计11月开放城市展厅,到时可以优先预约参观。
甚者,同样是在7月拿地的保利和悦滨江和保利锦上,项目资料已经满天飞,前者已经在广钢开放城市展厅,后者预计本月18日会开放实体售楼部。

(保利锦上实拍图)
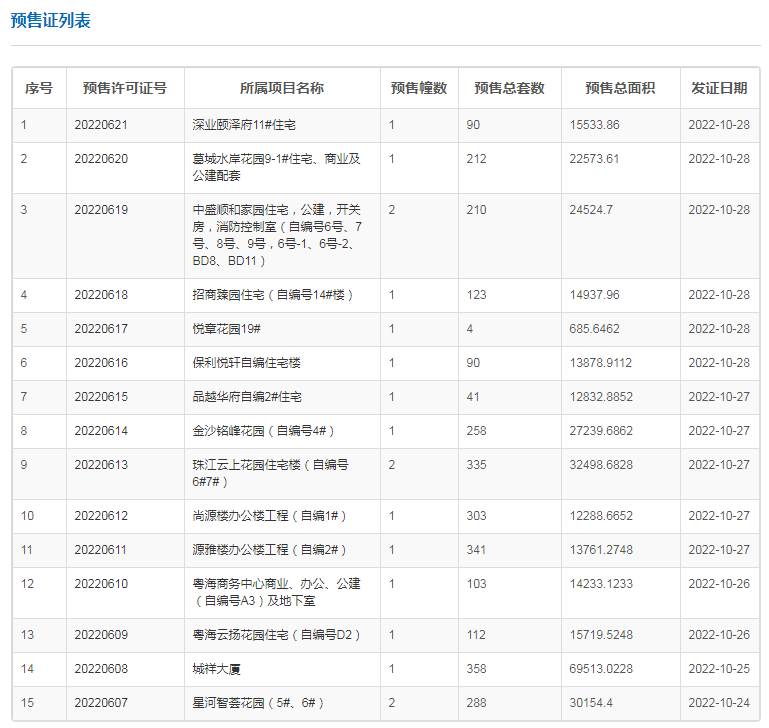
15张预售证获批!海珠豪宅当道!
当然,更典型的还体现在预售证上。
据广州住建局官网显示,近一周(10.24-10.28),广州一共获批15张预售证,新增总货量高达2868套,环比前一周上涨近18%。

除开3张预售证是商业项目,广州近期预计将迎来12个住宅项目,会有开盘动作,大家准备好了没?

*大看点还是在*区!
当中,琶洲南TOD二期悄咪咪又拿证了,这次拿证的是2栋,获批41套新货,产品为清一色的建面约315㎡五房大户型。

据了解,琶洲南TOD,预计在11月底正式开放示范区,并同步开放315㎡大户型样板房,参观需验资1000万,计划年内加推新品。

另一边,位于海珠滨江东的传统豪宅板块,也将迎来一个全新盘——保利悦轩。
保利悦轩位于滨江东,广州大道旁,直线距离广州塔约1公里,部分户型能看到江景,位置十分优越。
但该项目货量不多,只有一栋楼,5-18层2梯5户,主打建面约120-143㎡户型;20-30层2梯2户,主打建面约220㎡户型。


白云成供货大户 刚需豪宅承包了!
除了海珠区,白云区才是供货大户。
刚劲销8.6亿元的粤海·云港城获批112套新货,还是建面约140㎡的小户型,势必又是抢手货。

目前,项目还同步在售建面约190㎡和264㎡户型,2梯2户,售价约8.5万元/m²,不愧是白云新城的头部!
当然,如果是刚需刚改客户,可以*留意越秀天悦金沙和品实·云湖花城。
其中,越秀天悦金沙位于金沙洲板块,配套的小学纳入白云广附教育集团,由白云区金广实验学校具体管理。
*近,项目还一口气推出20套工抵房,均价36000元/㎡起,总价350万起可以买三房,还是挺诱人的。

而品实·云湖花城一口气拿了335套新货,这个盘也是白云刚需刚改客户买房必看项目,*大盘,地铁+学校一应俱全,听说项目前,配套18班高标准幼儿园及九年一贯制中小学均已封顶。
项目产品类型也很丰富,涵盖建面约70-113m²三*四房,售价在3.8-4.2万/㎡之间,偶尔还会出特价,总价260多万有机会入手。

南沙库存周期高达30个月,亚历山大
接下来,竞争*激烈的,还要看南沙。
10月受某些因素影响,南沙不少楼盘,放缓了推货节奏。11月开始,要整装待发,冲刺*后一波?
上周,南沙三个楼盘都拿到了预售证,包括星河智荟、深业颐泽府、湾区金融城,货量高达590套。
其中,星河智荟拿到5-6栋预售证,合计288套,产品涵盖建面约87-130㎡三*四房,目前售价2.3-2.6万/㎡。

这个盘,在南沙刚需市场,还是很有竞争*的,准现楼,楼下的COCOGarden双层商业体已经开业,距离地铁4号线大涌站步行距离约200米。
此外,同在横沥岛上深业颐泽府和湾区金融城,也各自拿到一张预售证,目前售价均价3.5万/㎡,新一期开盘,价格会不会有惊喜?
毕竟目前,南沙库存周期已经高达30.9个月,已经处于不健康的供求水平,去库存压力巨大。

接下来南沙,是否会有新的变动,欢迎大家进群,和我们我们持续关注中。








