贫穷限制了我的想象。
还记得,汇悦台那套打“骨折”的法拍房吗?
起拍价仅19.3万/平,价格梦回2019年,笋到爆炸。
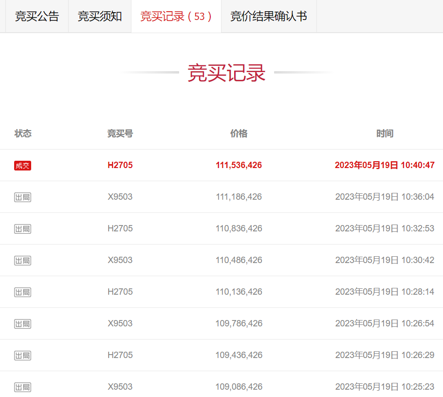
今天,它终于开拍了!9位大佬轮番厮杀53轮!房子*终被一位土豪,以1.12亿的总价斩获,折合单价30.5万/平!溢价率58%。


这个价格香不香?和市场价相比,还有多少套利空间?走,接着聊。
这套法拍房,素质是真的不错。
房子建面约366平4房,位于汇悦台6栋,高楼层(25层),西南向一线望江。
这种户型放盘量极少,近3年来,没有一套成交。


约366平4房户型
当然,抛开税费谈法拍,简直是耍流氓。
除了房子本身,还有这些“附加套餐”……
昂贵的税费*先,房子由法院负责清场交付,不存在物权问题。
不过,截止*2023年4月10日,房子欠了41061元(含物业费水费公摊费及车位费),需要买家承担。
当然,这都是不算事儿,真正的“大头”,还在后面。

根据资料,这套房子的登记时间在2017年,有可能是在2017年或之前购买的。
彼时,汇悦台价格大致在16.5万/平。
我们以这个单价来计算,这套房子原购买价预计约6039万左右。
按照5.3%豪宅增值税(成交价-发票价)+3%契税+3%个税等等来算,初步估计,这套法拍房产生的各种税费,大概要940万!妥妥能买市区一套改善房。
而且竞得人必须十天之内交齐全款。
只能说,没有金刚钻,别揽瓷器活。
超过市场价水平!
总之,这套法拍房,加上各种税费后,总价预计超过1.2亿,算下来,单价33万/平!要知道啊,目前,汇悦台市场成交均价大概在28.6万/平,今年*贵的一套房,超过31万/平。
而这套法拍房比市场价还贵!基本没什么“漏”可捡了,套利空间并不算太大。

不过,约366平的户型本身就稀有,极少放盘,而且位于江面开阔的6栋。
对于不差钱的土豪来说,只要买到,就已经赚到了,喜欢就值得。
豪宅市场降温。
怎么说呢,上亿的*,跟*别的豪宅,行情大概差了5套花城湾。
为什么这么说呢?其实,从上个月开始,珠江新城行情就开始降温,到了5月,珠城更是仅成交了10套房子,直接踩了刹车!
有行业内部人士坦言,现在普通豪宅项目有些卖不动,反倒是好地段的刚需盘,势头不错。
另外,*区豪宅新房供应爆发,土豪买家选择更多。
数据显示,刚刚过去的一季度,广州*别豪宅成交近900套,消化了大量需求。尤其是大热的琶洲南TOD,加推新货,一季度成交量占了半壁江山。

没有永远持续的行情,珠城豪宅市场经历年初的疯狂,也该降降温了。唯独*,总能走出独立行情。
不仅是汇悦台,*近,阿里法拍官网,挂出2套珠江新城豪宅法拍房,同样引人瞩目。
一套是颐德公馆的法拍房,建面约253平4房大平层,高楼层,起拍价3899.64万,6月15日开拍。

折合单价15.4万/平,相当于市场价6折!也是蛮笋的。
今年4月,颐德公馆成交的2套大平层(约171-200平),已经站稳 25万/平了。

房子权属人,同样是一位公司的老总。
目前,被执行人一家人仍在居住,房子门口还贴着,“家有恶犬”,也是相当应景了。

另外一套豪宅法拍房,位于中海观园国际。

建面约247平4房,低楼层(7F),起拍价3033万,起拍单价仅12.3万/平,相当于市场价7折。
这套房子,法院负责清场交付,5月30日开拍。房子阳台可一览珠江公园的风光,十分养眼,感兴趣的土豪,可以留意一下。


好了,*后,你觉得汇悦台这套法拍房,值不?评论区聊聊吧!
