服务热线:400-8327-668
广告
买房这种大事还是专业的好

广州珠江新城颐德公馆法拍房以楼面价18.8万/平成交

  • 编辑:一号小编
  • 发布时间:
  • 广东 广州
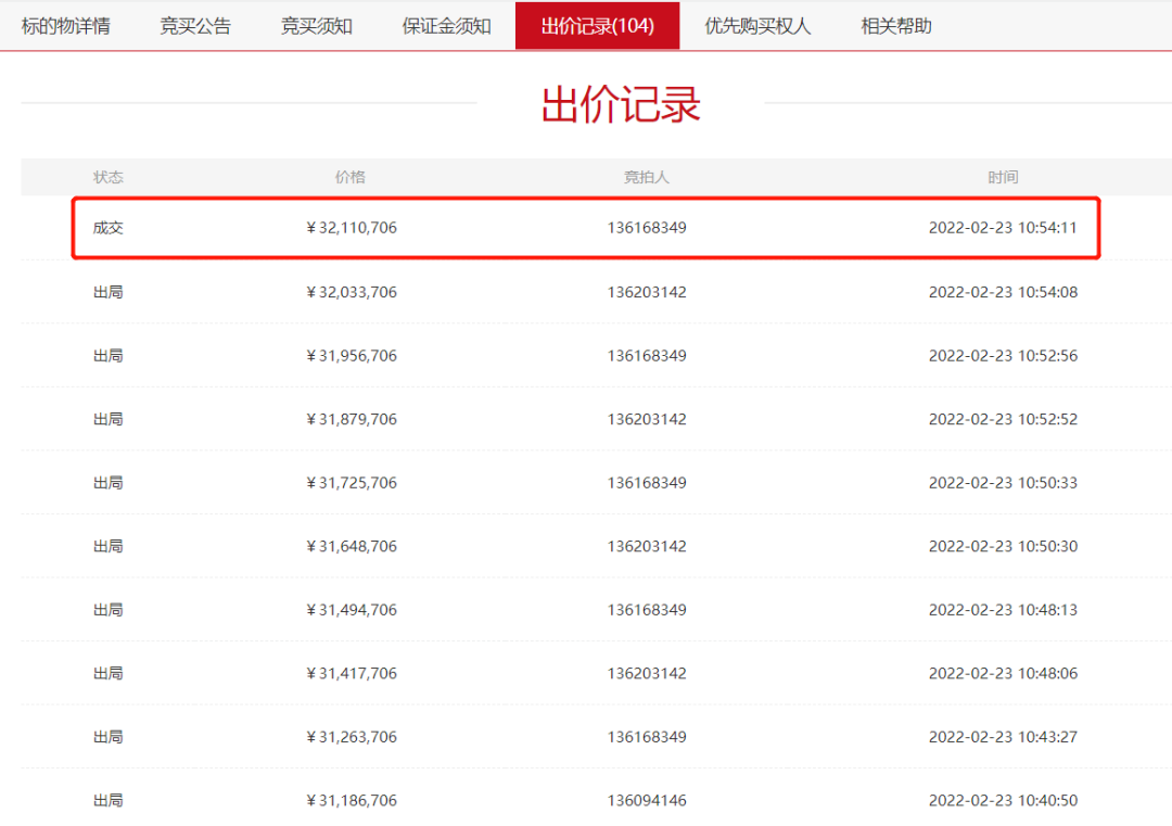
2月23日,据京东拍卖平台交易结果显示,经公开竞价,广州市天河区花城大道130号2601房以3211.07万元的成交价成功拍出。


据了解,标的物建筑面积为170.5765平方米,位于第26层 ,共43层。该标的物估值总价为2200.24万元,起拍价为1540.17万元。

该房产单位位于珠江新城颐德公馆,拍卖过程中,80次延迟,竞价104次,*终以约18.8万/平方米的楼面价成交。


据悉,该房产已被查封、抵押,还涉及债务纠纷,不过原业主愿意配合过户。


公开资料显示,珠江颐德公馆(珠江璟园)位于花城大道上,与珠江公园一路之隔。珠江颐德公馆占地2.2万平方米,总建筑面积13万平方米,总户数398户。

据了解,颐德公馆小区当前挂牌价在20-30万/㎡不等。其中低楼层挂牌价:20-28万/㎡,中高层挂牌价:20-30万/㎡。




  • 来源:广州房产之家


  • 对买房有疑问?直接找房产咨询师,量身定制你的个人买房解决方案!

    免费咨询电话:400-8327-668

    亲,你尚未登录!请先登录再后评论。登录

    推荐文章

    购房服务

    对买房有疑问?

    直接找专业房产咨询师,

    量身定制你的个人买房解决方案!

    咨询:400-8327-668

    免责声明:本网站所有内容,包括不限于,对楼盘周围环境、交通、教育资源、商业配套、公共设施等的介绍仅做参考,不做任何购买意见和承诺。读者请以项目的官方资料为准,内容所有涉及的面积均为建筑面积。部分内容图片来源于网络,如有侵权,请联系客服删除。

    服务热线

    400-832-7668

    (周一至周日全天)

    亮点好房

    亮点好房

    广州房产之家

    微信公众号:广州房产之家